Water Heater Flammable Vapor Sensor 101
Last Updated: 17 March 2025
***DISCLAIMER: PLEASE REFER TO YOUR MANUFACTURER’S INSTALLATION MANUAL FOR INFORMATION REGARDING YOUR SPECIFIC MODEL. IF YOU ARE ATTEMPTING TO SERVICE YOUR OWN HEATER, PLEASE DO SO WITH CAUTION; U.S. WATER HEATING SOLUTIONS, LLC. AND THE OTHER ORGANIZATIONS MENTIONED BELOW ARE NOT RESPONSIBLE FOR ASSOCIATED LIABILITIES. THIS ARTICLE IS MEANT TO PROVIDE AN INFORMATIVE AND EDUCATIONAL SUMMARY AND DOES NOT SUPERSEDE OFFICIAL WATER HEATER REPAIRS OR MANUFACTURER INFORMATION.
What is a Flammable Vapor (FV) Sensor?, How do I know if my water heater has a FV Sensor?
FV Sensors are safety devices on select models of gas water heaters, which cause a soft lockout (a.k.a. the unit shuts down) when flammable vapors are detected near the unit, to prevent the possibility of their ignition; in other words the FV Sensor is a safety feature to avoid the risk of fire. FV Sensors are typically found on power vents, damper models, and draft induced water heaters, powered by Natural Gas or Propane (presence of FV Sensor is determined by model); they were adopted as a the ANSI's safety standard in 2003 (Powell, 2021; GE Appliances).
If your manual or heater specs say “FVIR,” your heater is Flammable Vapor Ignition Resistant and has an FV Sensor. Rheem adopted these ANSI standards beginning on July 1, 2006.
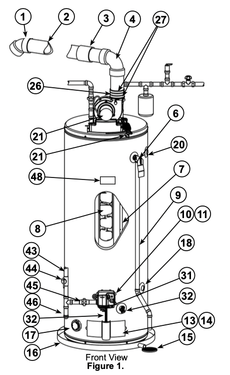
FV Sensors of Manufacturers' Diagrams
*Click images to enlarge*
Image Credits: A.O. Smith (p. 9-10), Rheem (p.7, 25, 38)
Where is the FV Sensor located?
The location of the FV Sensor varies by manufacturer and model. In general, they are located near the bottom of the water heater. Depending on the unit's specific model number and age, the FV Sensor may be located in a separate FV Sensor housing. For Bradford White and Rheem brand (ie. Rheem, Richmond, and Ruud) heaters, the FV Sensor is usually located beneath the Jacket Door (and metal covering that provides access to the burner chamber); the majority of water heaters produced in the last few years house their FV Sensors beneath the Jacket Door.
Some A.O. Smith models, however, may house FV Sensors on the bottom of the left side of the front of the heater (they are usually beneath a black cover).
The jacket on a Rheem heater is typically not flat and has a single tube-like curve; the FV Sensor will be mounted inside a plastic cap at the bottom center of the heater, beneath the jacket. The FV Sensor communicates with the gas valve via the FV Sensor Harness, a black wire with two connectors (usually red/orange), which attach to the prongs on the FV Sensor.
How does an FV Sensor work?
As the heater draws in air through the opening in the jacket (the metal “door” below the gas valve), a trace presence of flammable vapor can be ignited by the burner, and the heater will continue to operate normally. If there is a significant presence of flammable vapors in the air, the resistance feeding from the FV sensor into the gas valve changes, communicating to the gas valve and pilot assembly that the air and gas flow should cease from lighting the burner.
How do I know if my FV Sensor needs to be replaced?*
- Error code on gas valve: Seven Flash, Three Second Pause (A.O. Smith, Bradford White, Rheem)
- NOTE: A Seven Flash, Three Second Pause is a gas valve failure on some models; the error code meaning is predicated by the unit's gas control valve. Please ensure that you have a copy of your unit's installation manual handy.
- LCD Code: 47 (Manual p. 37 - Rheem Water Heaters)
- Heater will be in a soft-lockout and will not operate until the sensor is reset or replaced
- NOTE: Manufacturers recommend FV Sensor replacement after exposure to flammable vapors, as they may not be functioning at full capacity after being reset. A reset typically clears the error code temporarily, but the FV Sensor will likely require replacement for a longterm solution.
*This information can be found in your owner manual’s troubleshooting guide, usually near the end
What can trigger an FV Sensor? / What causes a faulty FV Sensor? / What causes FV Sensor lockout?
FV Sensors can be triggered by ammonia or sewer gas. Sometimes an FV Sensor Lockout can be triggered by seemingly harmless events like pet accidents or litterbox storage near the heater, mopping the floor with bleach, or storing paint cans nearby. Please keep in mind that no objects should not be stored in close proximity to the heater due to risk of fire; the FV Sensor itself should also not be blocked by any objects, including water heater insulation (a water heater blanket).
Other common flammable vapors include:
- Benzene
- Butane
- Gasoline (varies by grade)
- Isoprene
- Kerosene
- Methanol
- Mineral Spirits
Additional Common FV Sensor Triggers
Although FV Sensors are most commonly triggered by the direct presence of the aforementioned flammable vapors, there may be common household activities that contain strong flammable vapors that go unnoticed until they trigger the sensor due to the strength/saturation of the vapor in the surrounding air or being in close proximity to your water heater, as our technicians have found in the hundreds of water heater repairs they have performed. Here are other potential household triggers:
Home Improvements
- Paint Fumes | The fumes from painting your house or storing paint cans near the water heater; if you currently have paint cans or any other items stored near or on top of your gas water heater, you should relocate them immediately due to risk of fire hazard.
- P.S. We know the image with the water heater installed in a garage where cabinets are being painted does not have an FV Sensor, but the image does a great job of showing a realistic setting for an FV Sensor being triggered if the unit had one 😊
- Installing New Flooring | The adhesive and grout used to replace/install tile and laminate flooring often contain potent chemicals that may trigger your water heater's FV Sensor.
- Cleaning Solutions | Using chemicals may help rid your home of bacteria, but some cleaners give off strong fumes
- Bleach
- Fabuloso
- Pine Sol
- Sewer/Plumbing Related Causes
- Sump Pump Fumes | Leaving the cover off of a sump pump, especially during dry season can allow fumes to permeate the air, ultimately triggering an FV Sensor lockout
- Floor Drain | If your water heater is near a floor drain, the P-Trap may be dry, causing methane to seep out of the drain, which can trigger the FV Sensor
- Beauty Salon / Beauty Products | Some clients perform in-home salon services or travel to their clients' homes to perform services; this often occurs in the basement, in close proximity to the water heater (or even near the water heaters inside of salons), and certain chemicals used during treatment can trigger the FV Sensor:
- Nail Glue
- Nail Polish
- Nail Polish Remover
- Hair Products (e.g., certain chemicals in relaxers)
- Spices |
Believe it or not, some spices have such a strong scent that it is strong enough to trigger an FV Sensor! One our our restaurant clients had a small take out restaurant that only required a small residential power vent water heater on site. The unit, however, was located inside of their kitchen where they constantly cooked with curry and other strongly scented spices that it was regularly triggering the FV Sensor.
Pro Tip for FV Sensors + Home Improvement
If you are a:
- Flooring contractor/installer
- Painter
- Cleaning Service
- Other Service Tech who uses products that contain pungent chemicals and/or flammable vapors
BEFORE beginning your service near the water heater, ask the customer if you have permission to remove the FV Sensor (this will prevent them from being able to use the water heater) to avoid causing damage to the sensor. Place the FV Sensor in a plastic bag in another room, away from chemicals or in your service vehicle, as long as it is in the shade and away from chemicals. Upon completing your servicing and proper ventilating the room, re-install the FV Sensor; you may need to enter a code on the gas valve for the unit to fire once again, see the note beneath the YouTube video linked below.
My FV Sensor was damaged by water. / My FV Sensor was flooded. What should I do?
According to manufacturer recommendations, water damaged FV Sensors should be replaced. Yes, they can often be temporarily dried out and reused, however, this method will likely be a temporary solution and the lockout will likely occur again after a few days, weeks, or months.
Are replacement FV Sensors expensive? / Is FV Sensor Replacement Covered by Warranty?
FV Sensors are on the lower cost side, typically priced anywhere from $30-80 (if the FV Sensor kit includes a bracket, they will likely cost closer to $100).
FV Sensors are a commonly replaced part that may be covered by your manufacturer's parts warranty, depending on the cause of the FV failure (if your heater was damaged in a flood, the warranty is void). If your FV Sensor failure can be attributed to any of the issues listed above (i.e., home improvements, cleaning solutions, or beauty products), replacement is highly unlikely to be covered by the warranty. In rare cases, FV Sensors with a faulty manufacturer’s resistance setting can be responsible for causing a soft-lockout. This usually only applies to newly installed units with FV Sensor lockouts (typically < 6 months old) and would be covered by the manufacturer's warranty.
What does an FV Sensor Purchase Include?
FV Sensor purchases differ slightly by manufacturer the heater. In some cases, you may simply be purchasing the sensor alone:
- A.O. Smith FV Sensors may be sold alone or accompanied by a bracket
- Bradford White FV Sensors are typically sold alone and often do not include instructions
- Rheem FV Sensors are accompanied by a cap plug (which holds the FV Sensor in place) and zip tie.
Rheem and A.O. Smith FV Sensors typically come with detailed instructions, however, some A.O. Smith and Bradford White FV Sensors may be sold without instructions as they are often purchased in bulk, directly from the manufacturer, then resold in bulk. If your FV Sensor does not have instructions provided, please contact the manufacturer's Technical Support team for installation assistance or contact a qualified service professional to install the device for you.
Can I replace an FV Sensor on my own?
Although none of the aforementioned water heater manufacturers (ie. A.O. Smith, Bradford White, Rheem, and their affiliates and subsidiaries), nor U.S. Water Heating Solutions, LLC. advises water heater repair by non-repair personnel, changing the FV Sensor is one of the more common repairs homeowners often prefer to do themselves.
The video from Ruud's YouTube Channel is linked for educational purposes only and does not include diagnostic information, nor instructions for replacement. Replacement requires turning off the electrical power and gas to the unit. 
***NOTE: As previously mentioned, the FV Sensor location is predicated by the manufacturer, gas valve, and age of your unit. Similarly, the steps required for installation of a FV Sensor vary by gas valve, once the new sensor is installed. Although the installation is fairly straight forward, most gas valves have their own "codes" to reset the FV Sensor error. This typically involves pressing a certain series of buttons on the gas valve or turning the dial of the gas valve a certain number of times. For further instructions or assistance with FV Sensor installation, please call your manufacturer's technical support team.***
FV Sensor Part Numbers and FV Sensor Harnesses U.S. Water Heating Solutions Actively Stocks:
FV SENSORS:
- SP20172 | FV Sensor Kit* - Rheem
- Rheem's Kit includes: AP13450-3 | Cap Plug and AP14446 | Wire Tie - 6 in.
- 100112663 | FV Sensor Kit* -A.O. Smith
- 100110780 | FV Sensor Kit* - A.O. Smith
- 100110832 | FV Sensor and Bracket - A.O. Smith
- 415-45560-00 | 239-45560-00 | Flammable Vapor Sensor - Bradford White
*Kit is the terminology used by Rheem and A.O. Smith to refer to the replacement part itself; in Rheem's case, it includes the cap plug and wire tie, but there are no such FV Sensor parts/accessories for A.O. Smith units.
FV SENSOR HARNESS:
How to Purchase a FV Sensor from U.S. Water Heating Solutions
1. Gather the model and serial number of your unit
2. Contact Us:
a. Click the Messenger icon and send us your contact info along with the model and serial number of your unit
b. Alternatively, you can e-mail the information to service@uswhpro.com, complete our Quote Request Form, or Call Us
3. We will contact you with pricing + availability
a. We offer local pick-up in Arlington Heights, IL 60005; local delivery (within a 25 miles radius of 60005) for an additional fee, or shipping. If you have additional delivery or shipping needs, please let us know with your inquiry.
Sources
Powell, T. (2021, July 26). What Is FVIR? Water Heating Blog - Rheem Manufacturing Company. Retrieved January 27, 2022, from
https://www.rheem.com/water-heating/articles/what-is-fvir/
Rheem Manufacturing Company. (2009). Installation Instructions: Flammable Vapor Sensor Replacement Kit. Rheem Manufacturing Company














